首页
可控菠菜
金融理财
数字货币
其他源码
联系站长TeleGram
用户中心
演示站
标签云
登录
当前位置:
大仙科技
>
其他源码
>
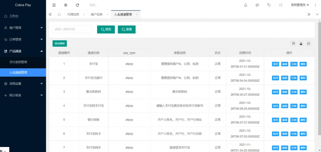
Pay多通道支付源码/代理码商商户管理
Pay多通道支付源码/代理码商商户管理
代理,码商,商户,三端
RIPRO主题是一个优秀的主题,极致后台体验,无插件,集成会员系统
大仙科技
»
Pay多通道支付源码/代理码商商户管理
上一篇
好运兔助手体育彩票门店专用源码
下一篇
新版本多语言USDT虚拟币投资理财系统源码
相关推荐
全站UI大改 第一套 英文版抢单 可卡连单
club海外游戏源码
2025最新五合一代付源码/美团代付/京东代付/滴滴代付/前端vue纯源码+后端node.js
英文版项目众筹系统源码
发表评论
取消回复
昵称*
E-mail*
网站
下次发表评论时,请在此浏览器中保存我的姓名、电子邮件和网站
提供最优质的资源集合
立即查看
了解详情
登录
注册
安全登录
立即注册
忘记密码?